上海维旺迪阀门有限公司

关闭刀闸阀的处理密集的阀门和泥浆混合物 刀闸阀尺寸从2“至24”(英寸)一块铸体,耐腐蚀不锈钢 刀闸阀尺寸3“ - 24”(英寸)重型制造碳钢或不锈钢刀闸阀阀体
1 2 3
电动三片式球阀
您现在的位置:首页 > 产品展示 > 球阀
电动三片式球阀
电动三片式球阀,电动三片式球阀厂家|上海电动三片式球阀-上海维旺迪阀门有限公司

产品说明:

产品概述
    Q911电动三片式球阀
适 用于两位切断、调节的场合。阀与执行机构的连接采用直连方式,电动执行机构内置伺服系统,无须另配伺服放大器,输入4-20mA信号及220VAC电源即 可控制运转。具有连线简单,结构紧凑、尺寸小、重量轻、阻力小、动作稳定可靠等优点。执行机构可根据用户要求另配置UNIC、PSQ、HQ、DHL等型号 电子式电动执行机构或GTX、AL等气活塞式执行机构。
执行标准
1、设计与制造:GB12237-89、API608、API 6D、JPI 7S-48、BS5351、DIN3357。
2、结构长度:GB12221-89、ANSI B16.10、JIS B2002、NF E29-305、DIN3202。
3、检验主试验:JB/T 9092、API 598。
电动三片式球阀规格参数
CH系列执行机构技术参数
阀体参数
电源
AC200/220V,50/60Hz
公称通径
DN10~100mm
输出力矩
50N·M~2000N·M
公称压力
PN1.6 2.5 4.0 6.4 31.5MPa(定制)
动作范围
0~90° 0~360°
泄漏量
软密封:零泄漏
硬密封:≤额定流量的10-5
动作时间
15秒/30秒/60秒
执行机构
可另配PSQ、HQ、UNIC、361RS等系列
电子式电动执行机构
保护装置
过热保护
流量特性
快开特性
环境温度
-30°~60°
可调范围
DN10-80
250:1
手动操作
同附带手柄操作
基本误差
±1%
限位
电气、机械二重限位
死区
≤1%
防护等级
相当于IP-65
回差
≤1%
位置测量
可选装开关或电位计
适用温度
密封面
驱动电机
8W/E
PTFE≤150℃ RTFE≤180℃ PPL≤300℃
硬密封≤450℃
CH 系列执行机构可直接接收计算机或工业仪表等输出的4~20mADC或1~5VDC控制信号,220VAC电源,根据阀位反馈信号与设定值比较偏差对执行机 构驱动电机进行智能步距调整(PID调节),以实现与执行机构配套的阀门或其他装置开度的精确定位,同时输出4~20mADC的位置反馈信号。其核心控制 部件电子式伺服控制器应用现代数字技术,对DCS/PLC规范设计而成,集信号采集、处理、反馈、控制于一体。采用独创的电子制动电路并附加机械阻尼装置 消除惯性,可瞬时停机,定位时无振荡,定位精度可达0.3%以上。可控硅输出,动作时间快,输出稳定,可靠性高。体积小,轻便宜人,性能可靠,配套简单, 流通能力大,特别适合于介质是粘稠,含颗粒,纤维性质的场合。目前该阀广泛应用于食品,环保,轻工,石油,造纸,化工,教学和科研设备,电力等行业的工业 控制系数。
技术参数和性能
试验压力
(Mpa)
公称压力(Mpa)
压力级(class)
JIS(Mpa)
1.6
2.5
4.0
6.4
10.0
150
300
600
10K
20K
强度试验
2.4
3.8
6.0
9.6
15.0
3.1
7.8
15.3
2.4
3.8
密封试验
1.8
2.8
4.4
7.0
11.0
2.2
5.6
11.2
1.5
2.8
气密试验
0.5~0.7
主要零件材质
连接方式
内螺纹连接
对焊连接
零件名称
阀体阀盖
WCB
CF8(304)
CF8M(316)
WCB
CF8(304)
CF8M(316)
球体、阀杆
2Cr13
0Cr19Ni9
OCr17Ni12Mo2
2Cr13
0Cr19Ni9
OCr17Ni12Mo2
密封圈、填料
增强聚四氟乙烯、对位聚苯
适用工况
适用介质
水、蒸汽
、油品等
硝酸等腐
蚀性介质
醋酸等腐
蚀介质
水、蒸汽
、油品等
硝酸等腐
蚀性介质
醋酸等腐蚀介质
适用温度
-29~180°C(增强聚四氟乙烯)、-29~300°C(对位聚苯)
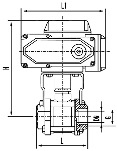
连接尺寸及重量
                                    2008022510220754582.gif
公称通径
内螺纹连接
对焊连接
mm
inch
D
L
(mm)
H
管螺纹G
B
重量
(Kg)
尺寸(mm)
重量
(Kg)
L
D1
D2
10
3/8
10
60
57
3/8″
95
0.34
70
10
18
0.32
15
1/2
15
75
68
1/2″
110
0.47
75
15
24
0.48
20
3/4
20
80
70
3/4″
110
0.68
90
20
28
0.68
25
1
25
90
80
1″
140
1.2
100
25
34
1.2
32
11/4
32
110
85
11/4″
140
1.9
110
32
41
1.9
40
11/2
38
125
100
11/2″
180
2.7
128
38
49
2.7
50
2
50
144
110
2″
180
3.9
154
50
62
3.8
65
21/2
64
186
130
21/2″
200
7.1
193
64
78
7.0
80
3
78
206
150
3″
250
11.5
222
78
94
11.4
100
4
98
240
170
4″
250
20.5
273
98
124
20.3
  • PVC塑料电动球阀
  • A100大口径微型电动球阀
  • CWX-25S微型电动球阀(手自一体)
  • 衬氟气动/电动球阀
  • CWX-15Q微型电动球阀